多喉徑風量測量裝置
一、產品概述:
ZW-CDH系列多喉徑風量測量裝置是從基爾管的基礎上開發,按照速度面積法布置的一種新型流量傳感器。它是節流式流量傳感器與速度面積法測量方法的wm****結合。傳感器由多個基爾管探頭按照速度面積法插入管道,將取壓信號匯入引壓管,從而得到流量。其測量精度高,主要應用在石化、冶金、熱電行業有含塵煙氣的超大管徑的流量測量中。其造價相對較低,運輸、安裝更為便捷。
二、工作原理:
ZW-CDH系列多喉徑風量測量裝置根據流體力學原理,當流體經過喉徑管時,通過收縮段喉部流向擴散角。經過兩側擴散角的擴散抽吸作用,喉部的流體被整流和放大,極大的提高了喉部流速,使喉部的靜壓明顯下降。從而使全壓孔與喉部測得的靜壓差放大。流量越大產生的差壓越大,通過測量差壓的方法,就可以測的管道流量。
Pl ——測量管人口******靜壓力;
K。——大管流量函數;
tl ——測量管人口流體******溫度;
K1 ——儀表修正系數;
Δp ——測量管人口與喉徑之間的差壓;
f(p·t) ——溫壓補償函數。
三、應用場合:
ZW-CDH系列多喉徑風量測量裝置是一種基于伯努力方程、運用現代航空技術----空氣動力學理論和流體力學理論,實現單點、多點高精度測量的差壓式智能流量計。它廣泛適用于火電廠、鋼鐵廠、化工廠的大、中、小型管道常溫或高溫氣體(空氣、蒸汽、天然氣、煤氣、煙氣)流量測量,特別適用于火電廠一次風、二次風流量測量。
四、主要特點:
1、根據現場工藝條件的不同分為單喉徑和多喉徑兩種;
2、壓損小,管徑大于φ300mm的管徑其壓力損失可以忽略不計,節能效果顯著;
3、直管段要求低。一般情況下,前直管段長度為0.7—1.5D;
4、差壓值大。小流速情況下,仍然得到一個較大的差壓值;
5、信號穩定可靠,無脈動差壓信號。由于采用了“多喉徑”結構,使得被測介質在各節流段有一個被“整流”的過程,zui大限度的消除了渦流的影響;
6、特殊的布點結構,可以得到整個管道截面的測量數據,從而保證測量的真實性和準確性;
7、產品壽命長。產品采用316或1Crl8Ni9Ti材料,并在流體測量面均進行了耐磨處理,使用經久耐磨;
8、采用特殊取壓結構,從根本上避免堵塞。可通過防堵吹掃裝置,進行在線吹掃維護;
9、體積小,安裝方便。只需在管道上開孔安裝即可,安裝法蘭隨機配給。
五、技術參數:
1. 適用介質:空氣、蒸汽、天然氣、煤氣、煙氣、水等介質;
2. 工作壓力: PN= -30kPa~16MPa;
3. 工作溫度:-40℃~560℃;
4.流速測量范圍:0.5~60m/s;
5.精度等級:±1.0%,±1.5%;
6.公稱通徑: 100 mm~6000mm,100×100 mm~6000×6000mm;
7.參照標準:GB/T2624-2006、GB1236-2000及JJG835-93;
8.連接方式:焊接,法蘭連接。
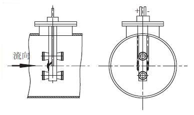
六、結構形式:
多喉徑風量測量裝置根據其插入點數的不同分為單點和多點兩種結構。結構圖如下:



不同管道結構規格多喉徑布置方式:
單點布置(適用于300mm~1000mm管道)

兩點布置(適用于1000mm~2000mm管道)

三點布置(適用于2000mm~4000mm管道)

多點布置(適用于4000mm以上管道)

七、安裝說明:
1. 插入式多喉徑的安裝位置直接影響測量結果,故要求選擇理想安裝位置,在安裝時應盡量避免管道阻力件對流量測量的影響,盡量避開彎管、閥門等構件在管道中形成的渦流區。
2. 確定安裝位置后,按要求沿管道軸線方向開一個(或多個方孔),再將法蘭安放到大管道矩形長方孔上并焊接,施焊時注意法蘭盤對稱軸與管道軸線平行,并確保插入式多喉徑插入管道中心處,或通過并垂直管道中心軸線,其全壓測量管須***正對流速方向。
3. 為保證焊接不變形,安裝時不應拆開法蘭,需進行整體安裝,并緊固螺栓,確保密封性。
4.垂直官道上,插入式多喉徑可以在管道的任一水平角度插入管道。
5.在水平管道上,插入式多喉徑從管道的垂直方向插入管內,亦可水平方向插入管內。
八、選型編碼:
規格代碼 | 說明 | ||||||
ZW- CDH | 規格型號 | 多喉徑流量傳感器 | |||||
測量形式 | /S | 單喉徑傳感器 | |||||
/D | 多喉徑傳感器 | ||||||
測量管徑 | 50- | DN50 | |||||
65- | DN65 | ||||||
80- | DN80 | ||||||
100- | DN100 | ||||||
125- | DN125 | ||||||
150- | DN150 | ||||||
200- | DN200 | ||||||
225- | DN225 | ||||||
250- | DN250 | ||||||
300- | DN300 | ||||||
350- | DN350 | ||||||
400- | DN400 | ||||||
450- | DN450 | ||||||
500- | DN500 | ||||||
600- | DN600 | ||||||
800- | DN800 | ||||||
900- | DN900 | ||||||
1000- | DN1000 | ||||||
工作壓力 | 1 | 0.6 MPa | |||||
2 | 1.6 MPa | ||||||
3 | 2.5 MPa | ||||||
4 | 4.0 MPa | ||||||
5 | 6.4 MPa | ||||||
6 | 10.0 MPa | ||||||
工作溫度 | 1 | 120℃以下 | |||||
2 | 220℃以下 | ||||||
3 | 380℃以下 | ||||||
介質類型 | Ⅰ | 單點布置 | |||||
Ⅱ | 兩點布置 | ||||||
Ⅲ | 三點布置 | ||||||
Ⅳ | 多點布置 | ||||||
管道材質 | C | 碳鋼 | |||||
S | 不銹鋼 | ||||||
O | 其它材質 | ||||||
型號標記方法:
ZW-CDH- S/D- DN□-PN□-Ⅰ/Ⅱ/Ⅲ/Ⅳ -C/S/O
ZW-CDH——多喉徑流量傳感器
S/D——S為單喉徑傳感器,D為多喉徑傳感器。
DN□——公稱通徑(㎜)例如DN1000,為公稱通徑1000㎜。
PN□——公稱壓力(Mpa)例如PN0.1,為公稱壓力0.1 Mpa。
Ⅰ/Ⅱ/Ⅲ/Ⅳ——Ⅰ為單點布置,Ⅱ為兩點布置,Ⅲ為三點布置,Ⅳ為多點布置。
C/S/O——管道材質:C為碳鋼,S為不銹鋼,O其它材質。
九、設計選用及訂貨須知:
1、被測介質名稱;
2、常用、大小流量(m3/h);
3、工作壓力(Mpa)、工作溫度(℃) 、Z高壓力(Mpa)、Z高溫度(℃);
4、介質密度、粘度;
5、管道材質、內徑、外徑;
6、現場管道敷設情況和局部阻力件形式。
7、您需要中偉測控的顯示儀表配套時,請參閱相應的說明書,選用合適的型號或由我公司技術人員根據您提供的資料替您設計選型。
8、如有特殊要示,請與我公司銷售部聯系。
售后服務承諾:
1、我公司所售系列流量計系列產品在十二個月以內出現質量問題的,負責免費維修。
2、質保期內如我公司產品出現任何質量問題,我公司負責免費維修或更換。
3、質保期內如用戶使用不當,造成產品損壞,我公司負責維修,收取損壞部件成本費。
4、質保期后產品, , 出現質量問題,我公司負責維修,收取損壞部件成本費。
5、如用戶需我公司現場服務,對省內用戶我公司服務人員12小時內到達現場,省外用戶48小時內到達現場。

